Monarch Go Pi HAT
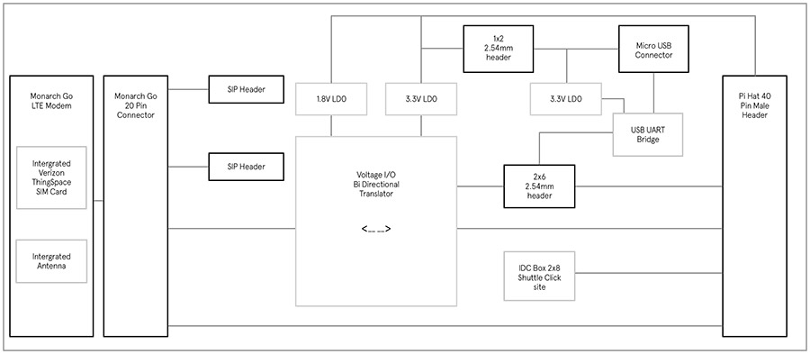
The Monarch Go Pi HAT is a cellular connectivity add-on card for SBCs with a Raspberry Pi HAT-compatible connector. Fitted with a Sequans Monarch Go (or Monarch Go-GPS) LTE Cat-M1 modem, this HAT board also facilitates expansion via click boards using a compact onboard shuttle click connector. An integrated onboard USB-UART bridge interface allows the HAT to be used with other platforms.
In addition to Monarch Go support, the Pi HAT includes a shuttle click expansion connector that enables 3.3V I/O, I2C, SPI, UART and GPIO-based click modules from MikroElektronika. Having access to the large array of click module offerings permits prototyping of various LTE-based applications.
The Monarch Go Pi HAT is no longer in production.
- Technical Documents
- FAQS
Do Avnet's products come with a warranty? ... more
- Monarch Go Pi HAT
- Monarch Go LTE modem
- Screws & standoffs
- Quick start card



