PDP SEO Portlet

X95820WV14IZ-2.7

Manufacturer:Renesas Electronics
Avnet Manufacturer Part #: X95820WV14IZ-2.7
Secondary Manufacturer Part#: X95820WV14IZ-2.7
  • Legend Information Icon RoHS 10 Compliant
  • Legend Information Icon Tariff Charges

Technical Attributes

Find Similar Parts

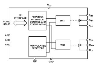
Description Value
TSSOP
Surface Mount
14
2
256
85 °C
-40 °C
10 kOhm
5.5 V

ECCN / UNSPSC / COO

Description Value
Country of Origin: RECOVERY FEE
ECCN: EAR99
HTSN: 8542390050
Schedule B: 8542390060
In Stock :  0
Additional inventory
Factory Lead Time: 126 Weeks
Price for: Each
Quantity:
Min:760  Mult:95  
USD $:
760+
$3.44
1520+
$3.35065
3040+
$3.30769
6080+
$3.26582
12160+
$3.225