PDP SEO Portlet

ISL61861EVAL1Z

Evaluation Board For USB Port Power Supply Controller

Manufacturer:Renesas Electronics
Avnet Manufacturer Part #: ISL61861EVAL1Z
Secondary Manufacturer Part#: ISL61861EVAL1Z
  • Legend Information Icon RoHS 10 Compliant
  • Legend Information Icon Tariff Charges

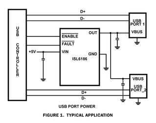
The ISL6186 USB power controller family provides overcurrent (OC) fault protection for one or more USB ports. This product family consists of eight individual functional product variants and three package options and is operation rated for a nominal +2.5V to +5V range and specified over the full commercial and industrial temperature ranges. Each ISL6186 type incorporates a 45mO P-channel MOSFET power switch for power control and features internal current monitoring, accurate current limiting, and current limited delay to turn-off for system supply protection along with control and communication I/O. The ISL6186 family offers product variants with specified continuous output current levels of 1.5A, 3A or 3.6A, enable active high or low inputs, and latch off or automatic retry after overcurrent turn-off, making these devices well suited for many low-power applications. This family of ICs is offered in an industry standard SOIC package as well as in the 70% smaller 3x3 DFN package, which provides the same performance and an additional Power-Good output feature in the smallest possible (10 Ld DFN) package.

  • 2.5V to 5V Operating Range
  • 45mO Integrated Power P-channel MOSFET Switches
  • Continuous Current Options for 1.5A, 3A and 3.6A
  • Thermally Insensitive 12ms of Current Limiting Prior to Turn-Off
  • Output Discharges with Reverse Current Blocking When Disabled
  • Latch-off or Auto Restart and Enable Polarity Options
  • 1µA Off-State Supply Current
  • Industry Standard Pin-for-Pin SOIC and Smaller DFN Packages Available

Technical Attributes

Find Similar Parts

Description Value
Power Management Tools
Power Management Tools

ECCN / UNSPSC / COO

Description Value
Country of Origin: NO RECOVERY FEE
ECCN: EAR99
HTSN: 8473301180
Schedule B: 8473300002
In Stock :  0
Additional inventory
Factory Lead Time: 777 Weeks
Price for: Each
Quantity:
Min:1  Mult:1  
USD $: