PDP SEO Portlet

HI7191IBZ

Analog to Digital Converter, 24 bit, Delta-Sigma, 2 kSPS, Bipolar, Differential, Unipolar, 5.5 V, 20 Pins, SOIC W

Manufacturer:Renesas Electronics
Avnet Manufacturer Part #: HI7191IBZ
Secondary Manufacturer Part#: HI7191IBZ
  • Legend Information Icon RoHS 10 Compliant
  • Legend Information Icon Tariff Charges

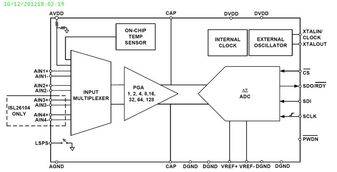
HI7191 is a monolithic instrumentation, sigma delta A/D converter which operates from ±5V supplies. Both the signal and reference inputs are fully differential for maximum flexibility and performance. An internal programmable gain instrumentation amplifier (PGIA) provides input gains from 1 to 128 eliminating the need for external pre-amplifiers. The on-demand converter auto-calibrate function is capable of removing offset and gain errors existing in external and internal circuitry. The on-board user programmable digital filter provides over 120dB of 60/50Hz noise rejection and allows fine tuning of resolution and conversion speed over a wide dynamic range. The HI7190 and HI7191 are functionally the same device, but the HI7190 has tighter linearity specs. Applications include process control and measurement, industrial weight scales, part counting scales, laboratory instrumentation, seismic monitoring and magnetic field monitoring.

  • 20bit resolution with no missing code
  • 0.0015% integral non-linearity (typ)
  • 20mV to ±2.5V full scale input ranges
  • Internal PGIA with gains of 1 to 128
  • Serial data I/O interface, SPI compatible
  • Differential analogue and reference inputs
  • Internal or system calibration, 120dB rejection of 60/50Hz line noise
  • Settling time of 4 conversions (max) for a step input
  • 70dB common mode rejection ratio CMRR (VCM = 0V, VINHI = VINLO from -2V to +2V)
  • 20 lead SOIC package, -40 to 85°C temperature range

Technical Attributes

Find Similar Parts

Description Value
Delta-Sigma
SOIC W
Surface Mount
Bipolar, Differential, Unipolar
Microwire, Serial I2C, Serial I2S
1
20
±5 V
85 °C
-40 °C
Single 24-Bit Delta-Sigma ADCs
24 Bits
2 ksps
5.5 V

ECCN / UNSPSC / COO

Description Value
Country of Origin: NO RECOVERY FEE
ECCN: EAR99
HTSN: 8542390030
Schedule B: 8542390030
In Stock :  0
Additional inventory
Factory Lead Time: 154 Weeks
Price for: Each
Quantity:
Min:760  Mult:760  
USD $: