DG409DYZ
Click image to enlarge
Manufacturer:Renesas Electronics
Product Category:
Analog Switches & Multiplexers, Analog Switches, Multiplexers & Demultiplexers
Avnet Manufacturer Part #: DG409DYZ
Secondary Manufacturer Part#: DG409DYZ
- RoHS 10 Compliant
- Tariff Charges
Technical Attributes
Find Similar Parts
| Description | Value | |
|---|---|---|
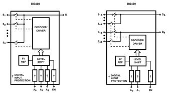
| Dual 4:1 | ||
| Matte Tin | ||
| 260 | ||
| 100@±15V Ohm | ||
| 180@12V ns | ||
| Surface Mount | ||
| MSL 2 - 1 year | ||
| 8 | ||
| 2 | ||
| 0.5@15V | ||
| ±20|34|±5|5|±9|±12|±15|±18 V | ||
| -40 to 85 °C | ||
| 16SOIC N | ||
| 16 | ||
| Single|Dual | ||
| 10 x 4 x 1.5 mm | ||
| No | ||
| Industrial | ||
| SOIC N | ||
| 5V to 34V, ± 5V to ± 20V |
ECCN / UNSPSC / COO
| Description | Value |
|---|---|
| Country of Origin: | PROJECTED FEE |
| ECCN: | EAR99 |
| HTSN: | 8542390090 |
| Schedule B: | 8542390060 |