MT863x系列:微功耗全極型霍爾開關
MT863x系列採用先進CMOS工藝,集成高靈敏度霍爾元件,支援2.0V至5.5V寬電壓運行,典型功耗僅1.2μA。產品具備優異的溫度補償和動態失調消除能力,可在-40℃至125℃環境下保持穩定一致的性能。系列提供多種靈敏度、輸出形式及封裝選擇,非常適合各類電池供電的低功耗位置檢測應用。
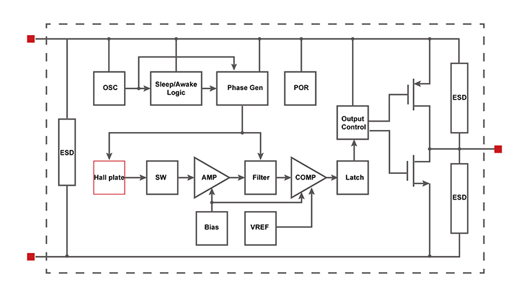
MT863x系列微功耗全極型霍爾開關可在低電源電壓和低功耗電流下運行,非常適合於電池驅動電子產品。2.0V~5.5V的低運行電源電壓範圍和獨特的時鐘演算法,説明降低平均運行能耗。如3.6V供電時,功耗僅為1.2μA。該系列產品採用CMOS技術生產,IC內部包括高靈敏度霍爾感應元件,用於採樣控制的睡眠/喚醒邏輯,低功耗片上振盪器,動態失調消除系統,遲滯比較器和輸出驅動器。MT863x系列為客戶提供不同的靈敏度和輸出形式,以及各種封裝形式,以滿足各種不同的低功耗位置檢測要求。
特點
- 寬工作電壓範圍:2.0~5.5V
- 超低功耗(ICCavg):typ. 0.6μA@ Vcc=2V,typ1.2μA@ Vcc=3.6V
- 輸出類型:推挽輸出
- 採樣頻率:20Hz
- -40°C~125°C 寬的工作溫度環境
- ESD±5 kV(HBM)
- 多檔磁場閾值可選
應用
智慧電錶、智慧氣表、智慧門鎖、藍牙耳機
框圖

