MT863x series: Ultra-low Power Omnipolar Hall Switch
Based on advanced CMOS technology, the series delivers high performance and reliability with low power consumption, and is widely used in battery-powered, low-power position detection applications such as smart electricity meters, smart gas meters, smart door locks, and Bluetooth headsets.
The MT863x series adopts advanced CMOS technology and integrates high-sensitivity Hall elements, supporting a wide operating voltage range from 2.0V to 5.5V with a typical power consumption of only 1.2μA. Featuring excellent temperature compensation and dynamic offset cancellation, the products maintain stable and consistent performance in environments from -40°C to 125°C. The series offers multiple sensitivity levels, output configurations, and package options, making it ideal for various battery-powered, low-power position detection applications.
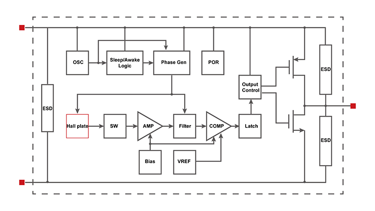
The MT863x series of ultra-low-power omnipolar Hall switches can operate at low supply voltages and with minimal power consumption, making them ideal for battery-powered electronic products. The low operating voltage range of 2.0V to 5.5V and a unique clocking algorithm help reduce average operating energy consumption; for example, at a 3.6V supply, the power consumption is only 1.2μA. Manufactured using CMOS technology, the IC integrates high-sensitivity Hall sensing elements, sleep/wake logic for sampling control, a low-power on-chip oscillator, a dynamic offset cancellation system, a hysteresis comparator, and an output driver. The MT863x series offers various sensitivity levels, output types, and package options to meet a wide range of low-power position detection requirements.
Features
- Wide Operating Voltage Range: 2.0V to 5.5V
- Ultra-Low Power Consumption (ICCavg): typ. 0.6μA @ Vcc = 2V, typ. 1.2μA @ Vcc = 3.6V
- Output Types: Push-pull output
- Sampling Frequency: 20Hz
- Wide Operating Temperature Range: -40°C to 125°C
- ESD Protection: ±5kV (HBM)
- Multiple Magnetic Threshold Options Available
Application
Smart electricity meters, smart gas meters, smart door locks, and Bluetooth headsets
Block Diagram


