MT863x 系列:微功耗全极型霍尔开关
基于先进CMOS工艺,具备高性能与高可靠性,功耗低、广泛应用于智能电表、智能气表、智能门锁及蓝牙耳机等电池供电的低功耗位置检测场景。
MT863x系列采用先进CMOS工艺,集成高灵敏度霍尔元件,支持2.0V至5.5V宽电压运行,典型功耗仅1.2μA。产品具备优异的温度补偿和动态失调消除能力,可在-40℃至125℃环境下保持稳定一致的性能。系列提供多种灵敏度、输出形式及封装选择,非常适合各类电池供电的低功耗位置检测应用。
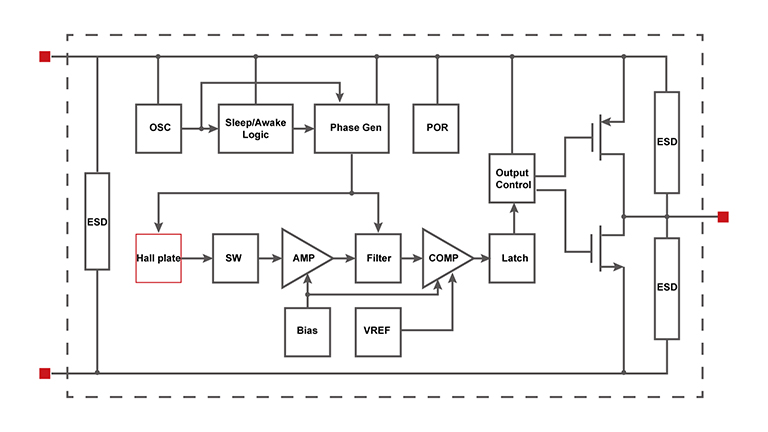
MT863x系列微功耗全极型霍尔开关可在低电源电压和低功耗电流下运行,非常适合于电池驱动电子产品。2.0V~5.5V的低运行电源电压范围和独特的时钟算法,帮助降低平均运行能耗。如3.6V供电时,功耗仅为1.2μA。该系列产品采用CMOS技术生产,IC内部包括高灵敏度霍尔感应元件,用于采样控制的睡眠/唤醒逻辑,低功耗片上振荡器,动态失调消除系统,迟滞比较器和输出驱动器。MT863x系列为客户提供不同的灵敏度和输出形式,以及各种封装形式,以满足各种不同的低功耗位置检测要求。
特色
- 宽工作电压范围:2.0~5.5V
- 超低功耗(ICCavg):typ. 0.6μA@ Vcc=2V,typ1.2μA@ Vcc=3.6V
- 输出类型:推挽输出
- 采样频率:20Hz
- -40°C~125°C 宽的工作温度环境
- ESD±5 kV(HBM)
- 多档磁场阈值可选
应用
智能电表、智能气表、智能门锁、蓝牙耳机
框图

